蘑菇TV官网进入,成人蘑菇国产免费软件,蘑菇视频官方入口,蘑菇TV网页版登录入口

    

    language 中文简体 中文繁体 English 目录在线 目录下载 收藏蘑菇TV官网进入在线留言站点地图

    蘑菇TV官网进入电机散热风扇厂家专注如AC蘑菇TV网页版登录入口,DC直流散热风机生产
    深圳工厂:0755-28035670业务专线:13603004952

    台湾蘑菇TV官网进入 - 32年散热风扇研发制造工厂

    Taiwan SANJU Electric

    深圳市蘑菇TV官网进入电机有限公司

    聚焦蘑菇TV官网进入,了解更多风扇知识

    一种电脑机箱内散热风扇的控制装置

    返回列表 发布日期: Mar 23, 2020

    本文专门为大家介绍一种电脑机箱内散热风扇的控制装置。

    电脑在使用过程中,其机箱内会产生热量,如不能及时散热,将严重影响到机器的性能。因此机箱散热问题始终是电脑生产厂家必须认真考虑的问题。为解决这个问题,现在的电脑机箱内设置了若千几个散热风扇,这些散热风扇是随着机器启动而一起动作的,但电脑随着使用时间的长短不同,其机箱内的温度也是不同的,如果使用时间较短的话,机箱内的温度不会太高,并不需要机箱内的散热风扇全部动作,甚至根本不需要散热风扇,由此可见,现有的电脑机箱内散热风扇的控制方式不是很合理。

    本文的目的就在于针对现有技术的不足之处而提供-种可自动检测电脑机箱内温度并相应地控制散热风扇的开关的控制装置。

    本文是通过如下技术方案实现的:它由液晶显示器、控制芯片、温度探头以及开关键组成,控制芯片分别与液晶显示器、伸入电脑机箱内的温度探头、开关键以及电脑机箱内的散热风扇连接。

    通过上述的结构,电脑机箱内的散热风扇的开关与否以及开启多少个风扇皆可根据温度探头检测到的机箱内的实际温度而由控制芯片进行控制并显示在液晶显示器的显示屏上,可有效地节约电能,且使用十分方便。附图说明:

    散热风扇

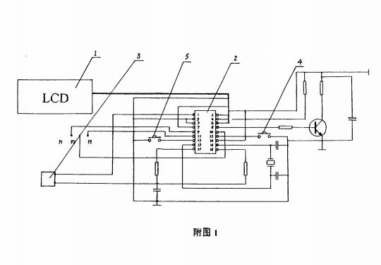
    附图1为本文的电路原理图

    见附图1所示,本文包括有:液晶显示器1,控制芯片2、温度探头以及开关键,控制芯片2分别与液晶显示器1、伸入电脑机箱内的温度探头3、开关键4、5以及电脑机箱内的散热风扇F1、F2、F3连接;控制芯片2的型号为EM78P156ELP;液晶显示器1通过数据线和控制芯片2的第2、6、7脚相连,温度探头3和控制芯片2的第1脚相连,开关键4控制芯片2的第12脚相连,开关键5分别与液晶显示器的数据线以及控制芯片的第3、5、13相连,电脑机箱内的三个散热风扇F1、F2、F3分别与第9、10、11脚相连。

    具体实施方式:

    本文在使用过程中,当温度探头3检测到机箱内的的温度高于15摄氏度时,控制芯片2的第9脚输出5V高电平,机箱内的第一个风扇启动,同时液晶显示器1的显示屏上显示FANI/ON;当当温度探头3检测到机箱内的的温度高于30摄氏度时,控制芯片2的第10脚输出5V高电平,机箱内的第二个风扇启动,同时液晶显示器1的显示屏上显示FAN2/ON;当温度探头3检测到机箱内的的温度高于45摄氏度时,控制芯片2的第9脚输出5V高电平,机箱内的第三个风扇启动,同时液晶显示器1的显示屏上显示FAN3/ON;而当温度探头3检测到机箱内的的温度在15 摄氏度以下时,控制芯片2的第9、第10脚和第11脚皆输出0V低电平,机箱内风扇全部关闭;开关键4的作用是:当它被按下时,控制芯片2的第9、第10脚和第11脚皆输出5V高电平,同时,液晶显示器1的背光板发亮,当松开开关浆4后,控制芯片2的第9、第10脚和第11脚恢复正常工作,背光板不亮;开关键5的作用是:当按下开关键5时,液晶显示器1的背光板发亮,而当松开开关键5后,背光板仍可继续亮5秒钟时间。


    
    关闭

    微信公众号

    咨询热线
    +86-755-2803-5670
    在线客服
    top
    网站地图