蘑菇TV官网进入,成人蘑菇国产免费软件,蘑菇视频官方入口,蘑菇TV网页版登录入口

    

    language 中文简体 中文繁体 English 目录在线 目录下载 收藏蘑菇TV官网进入在线留言站点地图

    蘑菇TV官网进入电机散热风扇厂家专注如AC蘑菇TV网页版登录入口,DC直流散热风机生产
    深圳工厂:0755-28035670业务专线:13603004952

    台湾蘑菇TV官网进入 - 32年散热风扇研发制造工厂

    Taiwan SANJU Electric

    深圳市蘑菇TV官网进入电机有限公司

    聚焦蘑菇TV官网进入,了解更多风扇知识

    ​带有温度指示灯和散热风扇调速器的电脑主机开关

    行业新闻​带有温度指示灯和散热风扇调速器的电脑主机开关

    本文涉及一种电脑的主机开关,尤其涉及一种兼带有反映主机机箱内部温度高低的指示灯和调节电脑 散热风扇 转速大小的功能的电脑主机开关。 现有的电脑中,主机机箱内部的中央处…

    Sep 19, 2019
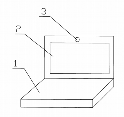
    ​散热风扇型笔记本电脑

    行业新闻​散热风扇型笔记本电脑

    一种散热风扇型笔记本电脑,该散热风扇型笔记本电脑自带散热风扇…

    Sep 19, 2019
    ​一种分体式无风扇电脑散热装置

    行业新闻​一种分体式无风扇电脑散热装置

    本文涉及电脑散热技术领域,具体地讲是一种分体式无风扇电脑散热装置。 众所周知,电脑主机发出的噪音令人很烦恼,对此人们开发了多种企图降低CPU及电源风扇噪音污染源的蘑菇视频官方入口。…

    Sep 19, 2019
    ​一种二合一电脑数码年历散热风扇

    行业新闻​一种二合一电脑数码年历散热风扇

    本文属于家用电器技术领域,涉及一种二合一电脑数码年历散热风扇。 …

    Sep 19, 2019
    ​一种用弹簧减震的低躁音电脑散热风扇

    行业新闻​一种用弹簧减震的低躁音电脑散热风扇

    本文涉及一种电脑散热装置,特别是指一种用弹簧减震的低躁音电脑散热风扇。 …

    Sep 19, 2019
    ​一种可快速拆装电脑散热风扇的散热组件、电脑散热风扇座与电脑

    行业新闻​一种可快速拆装电脑散热风扇的散热组件、电脑散热风扇座与电脑

    本文是关于一种散热组件、电脑散热风扇座与电脑,尤其是一种可快速拆装电脑散热风扇的散热组件、电脑散热风扇座与电脑。…

    Sep 19, 2019
    ​一种电脑散热风扇控制方法

    行业新闻​一种电脑散热风扇控制方法

    本文涉及一种电脑散热风扇控制电路及一种电脑散热风扇控制方法。 …

    Sep 09, 2019
    ​一种电脑散热风扇控制电路

    行业新闻​一种电脑散热风扇控制电路

    现有的散热风扇中只有4引脚散热风扇可以通过PWM实现智能散热风扇功能,而3引脚散热风扇由于没有对应的引脚因此无法接收PWM信号,因此3引脚散热风扇仍需利用改变其工作电压大小来…

    Sep 09, 2019
  1. 首页
  2. 上一页
  3. 10
  4. 11
  5. 12
  6. 13
  7. 14
  8. 15
  9. 16
  10. 17
  11. 18
  12. 19
  13. 20
  14. 下一页
  15. 末页
  16. 28223条记录
  17. 
    关闭

    微信公众号

    咨询热线
    +86-755-2803-5670
    在线客服
    top
    网站地图